• 全民古玩网瓷器、玉器、古币、银元、字画、文玩杂项、博物馆馆藏、古董收藏、古玩收藏

上博新展开幕丨汉淮传奇——噩国青铜器精粹展

  • 上海博物馆
  • 2021年10月19日08时



新展开幕



在商朝晚期的殷墟遗址出土的甲骨卜辞中,我们能够找到100余个方国的名称,可是却没有“噩方”;按照《荀子》的说法,西周兼制天下后,曾立七十一国,但是翻阅史书,也找不到噩国的记录。后人能知道噩国,完全是因为噩侯的形象曾在史书中“昙花一现”——


《史记殷本纪》载:“(纣)以西伯昌、九侯、鄂侯为三公。九侯有好女,入之纣,九侯女不憙淫,纣怒,杀之而醢九侯。鄂侯争之强,辨之疾,并脯鄂侯。”

《战国策赵策三》载:“昔者,鬼侯、鄂侯、文王,纣之三公也,鬼侯有子而好,故入之于纣,纣以为恶,醢鬼侯,鄂侯争之急、辨之疾,故脯鄂侯。”


噩侯地位显赫,在商末纣王时已和西伯昌(后来的周文王)、九侯(或写作鬼侯)一起位列王朝的三公;噩侯性格刚直,在九侯被冤杀后,敢于触怒纣王为九侯鸣不平。然而,令人敬佩的噩侯最终不幸枉死,闻者无不唏嘘……他的不幸遭遇使人不禁追问,噩侯死后,他的后代受到牵连了吗?他的国家还安好吗?可惜,历史并没有给我们留下答案,除此之外,史书中再也找不到关于噩国的只言片语,长久以来噩国历史始终不为人知。

令人意想不到的是,2007年,因犯罪分子盗掘未遂,考古工作者在湖北随州羊子山抢救发掘了一座西周早期的噩国墓葬,一段被历史长河吞噬了3000年的噩国历史就这样忽然重新展现在了人们面前。我们这一代人的幸运还不止于此。在那之后,仅仅过了5年,2012年,因南水北调工程,考古工作者又在河南南阳夏饷铺发现了一处西周晚期至春秋早期的噩国墓地,有关噩国地理位置与历史发展等长期令人困扰的问题一下迎来了新的线索。

为完整呈现噩国青铜器的发展脉络,并为观众还原噩国的历史面貌,上海博物馆特此举办“汉淮传奇——噩国青铜器精粹展”。本展览将会持续到2022年1月16日。

展览开幕式现场

此次展览主要分为以下三个部分。


第一部分 噩侯家族

2007年在湖北随州安居羊子山发现一座西周早期墓葬(编号为羊子山M4),出土青铜器27件,其中9件铸有“噩侯”铭文,为一代噩侯墓葬。

随州羊子山墓地位置示意图

“噩”作为古老的国(氏)族,除了噩侯之外,尚见噩叔、噩季与噩侯弟。噩侯弟季尊明确出土于随州羊子山,为同时代活跃之家族成员。

噩国青铜器以兽面“人目”“人鼻”的奇诡纹样,创造出独树一帜、绝无仅有的艺术风格,成就了噩国早期青铜工艺的高峰。



噩侯的兄弟有哪些?

伯、仲、叔、季是兄弟排行的次序,用来分别长幼尊卑。一般而言,“伯”是老大,“仲”是第二子,第三子称“叔”,“季”则指最小的孩子。可以看到,噩侯几兄弟的审美、器用都非常不同。

噩仲方鼎/西周早期

2007年安居羊子山4号墓出土

随州市博物馆藏

噩叔簋/西周早期

上海博物馆藏

噩季奞父簋/西周早期

上海博物馆藏


噩“伯”在哪里?

在古代社会按宗法制度,一般常以长子继承父位当家,所以历代噩侯理论上应当就是噩“伯”。而在羊子山4号墓中,铸造难度较大、一般也象征着墓主人高贵身份的方鼎上,却有铭文两行六字:“噩中(仲)乍(作)宝彝”。加之在羊子山4号墓出土青铜器铭文中没有出现“伯”字,因此也有学者认为这一代噩侯可能是由次子“噩仲”担任的,其长兄“噩伯”可能因为早夭或其他原因并未顺利继承。此部分的第一个转角柜中,展示的就是一系列噩侯器。


“噩侯家族”部分第一个转角柜中,

展示的一系列噩侯器

噩侯鼎/西周早期

2007年安居羊子山4号墓出土

随州市博物馆藏


还有哪些人与噩侯家族有社会联系?

在此部分的第二个转角柜中,通过展览说明牌上的器物名称、拓片等信息,可以发现羊子山4号墓中出土的青铜器,还有来自“冉”“宁父”“戈父丙”等人的。这些青铜器,可能是噩侯的战利品,也有可能是来自友邦对噩侯葬礼的献祝等。而这些人,则或多或少与噩侯家族有一定社会联系。

“噩侯家族”部分第二个转角柜中,

展示的是与噩侯有关的其他青铜器


西周早期的噩国青铜器为什么“独树一帜”?

兽面上的双眼炯炯有神,

眼睑、眼皮、眼球、瞳孔层次分明;

兽面上的眉毛弯弯曲曲,

好似两轮新月,根根眉毛纤毫毕现;

兽面上的鼻部高高隆起,

鼻翼圆厚且宽大,与人鼻十分酷似。

噩侯卣和噩侯方罍上的兽面纹

猜一猜这些兽面分别摄自两件器物的哪些角度?


此部分的两个中心柜,便展示了绝无仅有的、具有“人目”“人鼻”兽面纹的三件噩侯器——噩侯方罍和一对噩侯卣。目前为止,具有这般兽面纹的器物在随州羊子山一共只出土了四件,在全国范围内也是屈指可数。剩下的那件兽面纹尊,此次也来到了上海博物馆,在对面的展柜中与这三件交相辉映。


随州出土的噩国青铜器还有哪些看点?

金黄、土黄、暗红……

墨绿、草绿、蓝绿……

湖蓝、天蓝、靛紫……

噩国青铜器上的锈色五彩缤纷,

令人眼花缭乱、目不暇接。

随州出土噩国青铜器上的锈色

左右滑动查看

猜一猜这些锈色分别摄于展厅的哪几件器物?


其实,青铜器的本色应为金色,故而古代习称青铜器为金或吉金。目前所见的传世或出土青铜器,通常在器物表面呈现出绿色锈。但是湖北随州地区出土的噩国青铜器,由于地质、水分等埋藏条件的差别,部分器物形成了罕见的蓝色,瑰丽奇异,动人心魄。



第二部分 噩国与周王室的关系

西周早期噩、曾两国为西周王朝扼守南境、控制金路往来的重要诸侯国。西周中晚期噩国与周王室联姻,噩侯驭方献壶,与周王同宴、并行射礼,显示噩侯与周王友好的亲近关系。

好景不常,厉王晚期噩侯驭方率东夷、南淮夷反叛,震动周王朝,周王动用西六师、殷八师伐噩,最后以擒获噩侯驭方、扑灭噩国告终。



噩侯驭方是谁?

在展览第二部分,聚焦器物的年代从西周早期转到了西周晚期。从“噩国臣周、与王交好”到“噩国叛周、风云变色”,噩侯驭方在其中扮演了重要的角色、并起到了决定性因素。在这两件记录了噩国历史的重要青铜器中,噩侯“驭方”的名字屡次出现在了铭文里。

噩侯驭方鼎/西周晚期

若韵轩藏

噩侯驭方鼎铭文中出现的“噩侯驭方”

此鼎中共出现了6次“驭方”,欢迎把它们一一找出来

禹鼎/西周晚期

中国国家博物馆藏

禹鼎铭文中出现的“噩侯驭方”

此鼎中共出现了4次“驭方”,欢迎把它们一一找出来



第三部分 噩侯再现

2012-2014年南阳市新店乡夏饷铺发现西周晚期至春秋早期噩侯家族墓地,经科学发掘约清理出80余座墓葬,出土了大批青铜器,铸有“噩侯”“噩姜”“噩伯”等铭文,其中包括四代噩侯夫妇。

夏饷铺噩侯墓地的发现,改写了噩国灭亡于驭方叛变之战的传统看法,为了解噩国地理位置与历史发展等问题提供了新的线索与曙光。

南阳夏饷铺噩国墓地位置示意图

四代噩侯夫妇墓葬出土青铜器,反映了噩国西周晚期至春秋早期青铜器艺术的发展脉络。



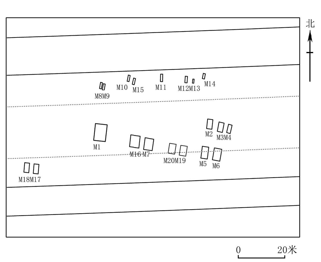
如何判断出有四代噩侯夫妇墓?

在南阳夏饷铺墓地中共有7座大墓,这些墓葬居于墓地中部,东西一字排开。从墓葬规格和随葬器物,可以立刻判断出这7座墓葬属于高等级贵族,应该就是历代噩侯等级的墓葬。而这7座墓葬中,东面的6座墓葬两两并排成一组,西部的则因盗掘仅剩下1座墓葬,每一组墓葬间的距离则稍大些。

南阳夏饷铺噩国墓地墓葬分布图

因此,这两两一组的墓葬便是同一代的噩侯夫妇墓葬。如此算来,在南阳夏饷铺墓地一共出土了四代噩侯夫妇。在展览的第三部分,便分别将这四代噩侯夫妇墓葬出土的部分器物展示了出来,并在相应展柜对侧加入了墓葬的平面图和器物出土情况图。

“噩国再现”部分第一个展柜中,

展示的M6、M5噩侯夫妇墓部分出土器物

“噩国再现”部分第二个展柜中,

展示的M19、M20噩侯夫妇墓部分出土器物

“噩国再现”部分第三个转角柜中,

展示的M1噩侯夫人墓部分出土器物

“噩国再现”部分第四个展柜中,

展示的M16、M7噩侯夫妇墓部分出土器物


噩侯夫人的墓葬是怎样与噩侯墓葬区分开的?

在周代的青铜器中,贵族女性的名字往往不会被记录下来。据记载,当时男子称氏、女子称姓。因此,对她们的称呼经常会采用在本姓的前面加上丈夫或父亲的国氏。

如南阳夏饷铺墓地M5(M为“墓葬”的拼音缩写,M5即5号墓)中的“噩姜”就应当是一位姓“姜”的某代噩侯夫人,而M20中的“噩姜”则应当是另一位姓“姜”的某代噩侯夫人。“姜”是一个周代颇为常见的姓氏,周武王曾封功臣姜子牙于齐,故齐国的公族便为“姜”姓。

噩姜鬲/西周晚期

2012-2014年南阳夏饷铺5号墓出土

南阳市文物考古研究所藏

噩姜簠/春秋早期

2012-2014年南阳夏饷铺20号墓出土

南阳市文物考古研究所藏


铭文可以在哪里找到?

此次展览以青铜器为载体,铭文内容作经纬,因此铭文也是展览的重要看点之一。而青铜器的铭文一般会出现在几个特定的位置上,如器物的内壁近口沿处、器物内壁底部、器物的口沿上或鋬(即把手)下等。

鼎内壁近口沿处的铭文

左右滑动查看

盘、匜内壁底部的铭文

左右滑动查看

鬲、壶盖口沿上的铭文

左右滑动查看

猜一猜这些铭文分别摄于展厅的哪几件器物?


媵器是什么意思?

“媵”是古代嫁女时,随嫁或陪嫁相赠送的人或物。而青铜器中专为嫁女而作的礼器,就被统称为“媵器”。此次展览中便有一件壶,乃是媵器。在其盖口外侧有铭文“噩侯乍(作)孟姬媵壶”,即噩侯为女儿孟姬所作陪嫁用器。

噩侯壶/春秋早期

2012-2014年南阳夏饷铺19号墓出土

南阳市文物考古研究所藏


噩国姓什么?

南阳夏饷铺墓地是西周晚期至春秋早期的噩侯家族墓地。根据周代对贵族女性的称名方式,从这件噩侯壶的铭文中便可以知道,西周晚期至春秋早期夏饷铺噩侯的姓应当与他的女儿一样,是姓“姬”。“姬”也是周代王室成员的姓。

但是台北故宫博物院收藏有三件西周早中期的噩侯簋,其器内底及盖内的铭文却写有“噩侯乍王姞媵簋”等字样,说明在西周晚期以前,那时的噩侯应当是姓“姞”的。

噩侯钟/西周晚期

2012-2014年南阳夏饷铺6号墓出土

南阳市文物考古研究所藏

此钟钲部有三字铭文“噩侯乍(作)”


西周晚期的噩国究竟发生了什么?

从出土器物上看,南阳夏饷铺出土的西周晚期至春秋早期噩侯器,与随州羊子山出土的西周早期噩侯器相比,在艺术风格和制作工艺上都发生了巨大的变化。

从铭文上看,噩侯的姓氏在西周晚期可能发生了改换,西周早中期的噩侯可能姓“姞”,但到了西周晚期至春秋早期夏饷铺噩侯却可能为“姬”姓。

从地望上看,西周早期的噩国应当位于随州一带,而西周晚期至春秋早期的噩国则位于南阳一带,说明噩国的封地也前后不同。

这一切,与西周晚期噩侯驭方叛周究竟有什么样的关系?西周早期和晚期的噩侯有没有可能是两个不同的家族?南阳夏饷铺墓地的考古发现并没有为噩国历史的争论画上句号,反而此次发现引发了更多讨论,也再次将噩国推向众人关注的焦点……



展厅速览



探寻噩国青铜器的奇诡纹样,追踪噩国历史的谜雾,欢迎在2021年10月20日至2022年1月16日来到上海博物馆四楼第三展览厅,参观“汉淮传奇——噩国青铜器精粹展”。为举办此次展览,上海博物馆不仅展出了馆藏的噩国青铜器,还承中国国家博物馆、随州市博物馆、郑州博物馆、南阳市文物考古研究所等机构与私人藏家的信任与厚意,为观众共呈现了60件精心遴选的噩国青铜器。此次展览首次聚集从西周早期至春秋早期的噩国青铜器,并以青铜器为载体,铭文内容作经纬,完整呈现了噩国青铜器的发展脉络,为观众还原噩国的历史面貌。相信此次展览能够给观众带来一次难忘的上古历史体验与艺术享受,从而认识、热爱我国悠久的历史和灿烂的古代文明。


汉淮传奇——噩国青铜器精粹展



///

参观本次特展时,

您可以使用上海博物馆微信导览功能。

1

长按二维码进入导览页面。

2

关注上海博物馆公众号,点击菜单“GO上博-汉淮传奇”进入导览页面。

3

扫描展厅内文物说明牌边的二维码,获得语音导览及主题介绍。

////


更多资源







版权声明


上海博物馆(微信号:上海博物馆)发布的图文均为版权作品,仅供订阅用户阅读参考。其它网站、客户端、微信公号如需转载,请联系我们获得授权,并注明“上海博物馆”版权信息。敬谢!

联系电话:021-63723500

上海博物馆文章

陶瓷瓷器相关文章

Copyright © 2021.Company 全民古玩网QVIP.NET All rights reserved.全民古玩网加密货币交易所